2025年12月08日TIME系统更新日志
更新内容
PC端:
1.项目WBS任务发布时开始时间和结束时间改为必填项
2.WBS支持发布流程任务
3.新增需求评审、需求变更流程
4.开票收款计划页面修改
5.客户简介字段增强
1.项目WBS任务发布时开始时间和结束时间改为必填项
1、已完成任务,用户可以编辑开始时间或结束时间,且必填。
2、WBS任务 发布、发布后编辑、提交,必填任务预计开始、截止日期。
2.WBS支持发布流程任务
1、后台WBS模版支持关联流程任务,立项流程中不显示流程任务,但流程结束,会自动将流程任务带入到WBS中。

2、WBS中也支持手动添加流程任务,发布流程任务
3.新增需求评审、需求变更流程
1、项目WBS支持新建、发布需求评审、需求变更流程。
流程图如下:
PS:此两个流程暂时仅可从项目WBS中发起
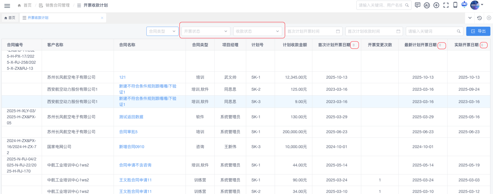
4.开票收款计划页面修改
1、新增两个状态筛选:开票状态、收款状态
2、时间类型字段表头增加排序
5.客户简介字段增强
1、客户简介字段支持粘贴图片,填写带格式文字。
文档更新时间: 2025-12-08 20:33 作者:admin